электронный каталог MITSUBISHI расположение запчасти mitsubishi ME203153 
Каталог MITSUBISHI
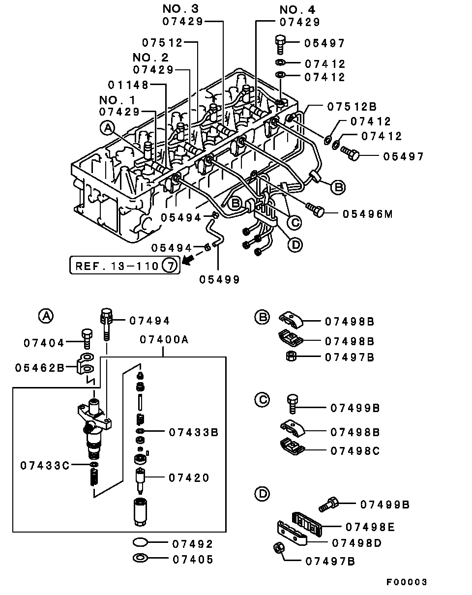
рисунок PNC
Просмотреть все цены:

Применение номера
Модели АВТО :

V68W 13-110 01148 
V78W 13-110 01148